(原标题:刚刚,万科涨停的原因终于找到了……)
宝能举牌,曾让万科涨停过;恒大举牌,也让万科涨停过;如今股权之争即将尘埃落定,万科终于再度迎来久违的涨停……
6月23日,继前一日上涨四个点后,万科再度迎来大涨,临近收盘时直接封死涨停,股价创下今年以来的新高。分析人士告诉中国证券报记者,董事会换届方案的推出向市场传递出万科股权之争基本尘埃落定的信号,这无疑是对万科的一大利好。而随着深铁的强势入主,万科未来的发展前景也更令市场期待。更重要的是,目前市场风格偏爱白马股,作为房地产龙头的万科自然会成为资金追逐的对象。

北上资金“开抢”万科A
其实,万科的这一次涨停,来得比预期中的晚了一些。
6月21日早晨,万科突然发布公告称,接到股东深圳地铁集团关于公司董事会换届以及选举董事、监事的议案,将在6月30日召开股东大会审议。深铁提交的议案显示,新一届董事会的11名董事候选人中,万科管理层占3席,深圳地铁集团占3席,来自深赛格的外部董事1人,并无“宝能系”人选。
深圳地铁公开表示,作为万科的基石股东,在向万科提交临时提案前,征求了万科现有主要股东等各方意见。分析人士指出,这可能意味着“宝能系”已放弃董事会席位,历时两年之久的万科股权之争已基本尘埃落定。
不过,消息出来后,市场反应速度略慢。21日当天,万科A仅微涨0.05%;次日资金才反应过来,万科A大涨3.99%;随后在23日,资金开始涌入万科A,从早盘开始万科股价就一路走高,午后虽经小幅震荡,但临近收盘时遭遇巨额买单被直线封死涨停板,收盘报24.07元/股,创下今年以来的新高。
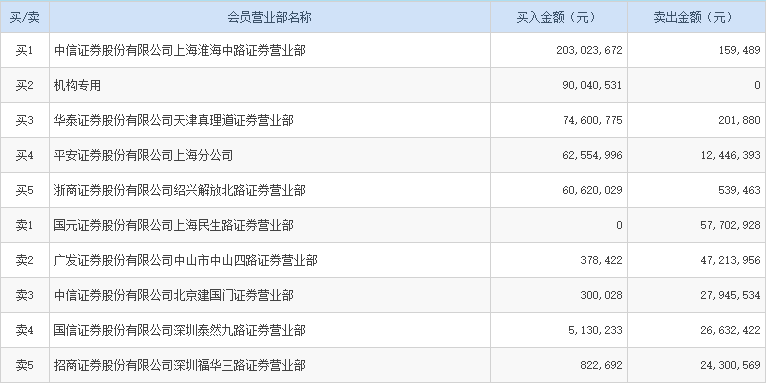
盘后深交所数据显示,当天不仅有游资、也有机构在大笔买入万科A。买入金额最大的前5名中,排名第一的是中信证券上海淮海中路营业部,仅其一家买入额就高达2.03亿元;排名第二的是机构席位,净买入9004.05万元;华泰证券天津真理道营业部买入7460.08万元,平安证券上海分公司买入6255.5万元,浙商证券绍兴解放北路营业部买入6062万元。

除了内地资金,盘后深股通数据显示,北上资金也加入了争抢万科A股票的行列,买入金额为2837.65万元,卖出1709.13万元,净买入1128.52万元,一举将万科送上当天深股通十大成交活跃股第九位。

深铁账面浮盈超110亿
上一次万科涨停还要追溯到恒大举牌期间。去年8月8日晚,恒大首次公告,自2016年7月25日至2016年8月8日之间买入万科A股5.00%的股份。然后,2016年11月22日晚,恒大又公布,于8月12日至8月22日、11月9日至11月22日之间购入万科A股5.00%的股份。在8月4日至8月31日之间,万科A出现了5个涨停板,其中三个是连续涨停。
而在恒大举牌万科之前,宝能和安邦的举牌也让万科A出现过多次涨停。因为宝能、安邦以及恒大的连番增持,万科A股价在2016年屡屡创出新高,最高曾达到29元/股。不过,随着去年12月份深铁与万科重组方案的“流产”,万科股价也逐步回落,加上今年二级市场表现不佳,万科A曾一度跌至18.32元的年内低点。
在万科A股价接连创下年内新低之时,耗费巨资取得万科股权的深圳地铁也备受质疑,有投资者指其出价过高。今年1月,深圳地铁耗资371.7亿元,将华润所持有的万科15.31%股权纳入囊中。接过这部分股权之后,万科A股价就一直在22元以下徘徊,深圳地铁一度浮亏近60亿元。
如今,随着万科股价突破24元,深圳地铁已“扭亏为盈”,以23日收盘价24.07元/股计算,深圳地铁账面甚至浮盈约35亿元。如果算上恒大转让的万科股权,深圳地铁的账面浮盈将超过110亿元。
今年6月9日,深圳地铁又耗资292亿元,将恒大所持有的万科14.07%股权接过,当时的转让价格为18.8元/股。而恒大当初增持这部分万科股权所花费的资金高达362.73亿元,均价为23.35元/股。如果没有转让这笔股权,恒大此时已经“解套”,还可以小赚一笔。
稳定才是硬道理?
在深圳地铁接手恒大转让的万科股权之时,就有不少大型券商发表研报,纷纷表示股权之争落幕是对万科的一大利好,看好深铁与万科的合作前景。
广发证券认为,深圳地铁集团将与万科更加紧密地合作,特别是在“轨道+物业”的发展领域,各自发挥资源和能力的优势共谋发展。
业务层面,地铁集团作为城市轨道交通建设运营的领导者,与城市配套服务商的万科在“轨道+物业”发展战略的的协同将进一步深化;股权层面, 地铁集团成为支持万科可持续发展重要基石股东,巩固发展基础。公司治理层面,地铁集团明确表示支持万科混合所有制和事业合伙人机制。在各方的共同努力下,万科有能力保持行业龙头地位,实现可持续的更好的发展。
平安证券指出,在调控加码及融资端收紧背景下,龙头房企优势将持续凸显,未来万科的规模及市占率有望进一步提升。
万科作为国内最优质的龙头开发房企,住宅开发持续受益集中度提升,仍将保持较快增速。同时深圳地铁的介入带来的不仅仅是优质资源,更是‘轨道+物业’的新业务模式。此外公司积极布局物流地产、社区物业等地产细分领域,拓展新的业务模式,看好公司股权纷争落地后的长远发展。
除此之外,还有市场人士指出,当前市场风格偏爱白马股,而房地产行业已进入新一轮调控周期,行业集中度提升、强者愈强将会持续并且更加凸显。一二线龙头房企在经营发展上竞争力将更好体现,优势更为明显,万科会成为资金追逐的对象并不奇怪。